Last month Apple filed a new patent with the US Patent & Trademark office that relates to transparent composites formed with fibres encapsulated in a resin.
Apple is said to be heavily investing in advanced composites materials for its next generation of products. Composite materials are lighter and more flexible than traditional plastics or metals which is ideal for wearable devices, a market that Apple is looking to enter with the much rumoured iWatch.
The thinking
Fibre reinforced composites are usually formed with a matrix of fibres embedded in a hardened resin. Fibre composites can be used in many products because of its relatively high strength, relatively light weight and low manufacturing costs. Common applications can be automobile body features, marine applications and swimming pools. The relatively high strength to weight ratio of fibre reinforced composites makes them a good fit for these and other applications. Glass fibres are one of the most common fibres employed to reinforce composites, which has led to the common term of “fibreglass” used to describe such composites. However, ceramic fibres can also be used to reinforce resins in a similar manner. Hereinafter, the term fibreglass is used to denote a fibre reinforced composite in general.
To form a fibreglass object, the fibre material, often in a mat form, is wetted by a liquid resin. The resin then cures into a solid either in ambient air or in elevated air temperatures. Oftentimes, the fibreglass mat can be placed into a form or mould and then the resin can be applied to the mat to create a particular shape. In most applications, the strength and cost of the fibreglass object are the key desired characteristics of the object. Cosmetic requirements are often less critical. As most fibreglass cures, the fibreglass can appear to take on a slight green hue imparted by the resin. Colored resins can be easier to handle during the manufacturing process. Many fibreglass objects can be painted or have a coverlay (an opaque or relatively opaque covering) applied to both hide the green color and provide a final finish for the fibreglass object.
It can be desirable to have low-cost, high strength, relatively clear fibre reinforced composites. Relatively clear fibreglass composites can enable lightweight and strong housings that can include a clear window for either displays or even camera lenses. Non-optimal resin and fibre selection can hinder the production of relatively clear fibreglass composites. Therefore, what is desired is a reliable way to produce a relatively transparent fibre reinforced composite.
The method
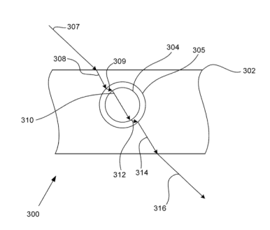
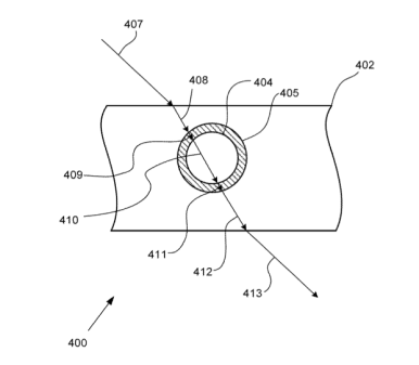
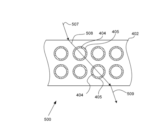
The patent invented by Paul Choiniere, Evan Hankey, Michael Pilliod and Peter Russell-Clarke describes various embodiments that relate to transparent fibre reinforced composites. A method for forming a relatively transparent fibre composite is disclosed. In one embodiment, the relatively transparent fibre composite can include glass fibres with a relatively low amount of iron oxide. In another embodiment, the transparent fibre composite can include a selected resin, a sizing and glass fibres where the index of refraction of the glass fibres, the sizing and the resin can be similar, within a tolerance amount. In yet another embodiment, the resin can be relatively clear and free from pigments and tints. In one embodiment, the glass fibres can be formed into a mat. In another embodiment, glass fibres can be chopped or milled and a relatively transparent part can be formed through injection moulding.
A transparent fiber-resin composite is disclosed. In one embodiment, the transparent fiber-resin composite can include a glass fibre, a sizing and a resin where the sizing and the resin are selected to have an index of refraction similar to a determined index of refraction of the glass fibre. In one embodiment, the glass fibre can include less than 0.1% of iron oxide.
A chopped glass fibre is selected and the index of refraction of the glass fibre is determined. A sizing for the chopped glass fibre is selected with an index of refraction similar to the index of refraction of the glass fibre. The sizing is applied to the glass fibre and a resin is selected with an index of refraction similar to the index of refraction of the glass fibre. The glass fibre is mixed with the resin and the mixture is injection moulded.
[rssless]


