A Dutch company has come up with this high-tech alternative to Worzel Gummidge, a 3D printed robot bird of prey...
Silicon Valley startup Arevo Labs has announced the availability of technology and materials to create Ultra Strong High Performance Polymer...
Volvo Car Group has developed a revolutionary concept for lightweight structural energy storage components that could improve the energy usage...
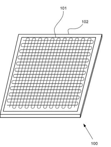
Last month Apple filed a new patent with the US Patent & Trademark office that relates to transparent composites formed...
Researchers have put forward technical recommendations for adopting lightweight composite materials in the construction of rail car bodies.
Sony have recently exhibited a new prototype cooling sheet, made of silicon and packed with carbon fibre it has been...







